症例・導⼊事例
※ご紹介する症例は臨床症例の一部を紹介したもので、全ての症例が同様な結果を示すわけではありません。
BPE(background parenchymal enhancement)がminimalである浸潤性乳管癌(ICD)
施設名: 埼玉医科大学総合医療センター
執筆者: 画像診断科・核医学科 後藤 俊 先生 / 中央放射線部 佐藤 浩彰 先生
作成年月:2024年10月
※ 効能又は効果、用法及び用量、警告・禁忌を含む注意事項等情報等については、電子添文をご参照ください。
はじめに
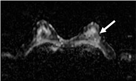
検診で指摘された左乳房腫瘤に対してMRI精査を行った症例である。BPEはminimalで病変の同定は容易であった。拡散強調像では明瞭な高信号あり、ADCの低下を認め、細胞密度は高いと考えられた。造影MRIにて辺縁不整な形状である事が明瞭となり、ダイナミック早期相では辺縁優位に造影効果を認め、TIC( Time intensity curve)ではFast-plateauパターンを示し乳癌を疑った。
ガドビストを用いたMRI検査の方法
手順と撮像 Sequence Parameter
撮像パラメータ
表は横スクロールでご覧いただけます。
| 撮像名 | 撮像シーケンス | 撮像時間 | TE (msec) | TR (msec) | TI (msec) | FA (deg) | Flipback (有無) | Fat Sat (種類) | ETL (数) | P-MRI (Reduction Factor) | 息止め (有無) |
| T2 STIR TRA | TSE IR | 2:47sec | 64 | 5500 | 180 | 170 | 無 | ー | Turbo factor 16 | 2 | 無 |
| T1WI TRA | TSE | 2:32sec | 7.9 | 550 | ー | 170 | 無 | ー | Turbo factor 3 | 2 | 無 |
| DWI TRA | single shot SE EPI | 3:52sec | 72 | 5900 | ー | 90 | 無 | SPAIR (chess) | EPI factor 76 | 2 | 無 |
| 3D TRA T1 FS | 3D GRE (VIBE) | 1:08sec | 2.39 | 4.71 | ー | 12 | 無 | SPAIR (chess) | ー | 2 | 無 |
| 3D TRA T1 FS (dynamic CE) | 3D GRE (VIBE) | 1:08sec | 2.39 | 4.71 | ー | 12 | 無 | SPAIR (chess) | ー | 2 | 無 |
| 3D Lt-SAG T1 FS (CE) | 3D GRE (VIBE) | 3:00sec | 1.69 | 5 | ー | 11 | 無 | SPAIR (chess) | ー | 無 | 無 |
| 3D Rt-SAG T1 FS (CE) | 3D GRE (VIBE) | 3:00sec | 1.69 | 5 | ー | 11 | 無 | SPAIR (chess) | ー | 無 | 無 |
表は横スクロールでご覧いただけます。
| 撮像名 | NEX (加算 回数) | k-space | 面内分 解能 (mm) | Slice厚 (mm) | FOV (mm) | Rectan gular FOV(%) | 位相方向 (step数) | リード方向 (matrix数) | Slice Gap (mm) | Slice 枚数 | 3D pertition (数) | 3D over samplin g(%) |
| T2 STIR TRA | 1 | Cartesian | 1.09× 1.09 | 5 | 350 | 100 | RL (90%) 288 | AP 320 | 1.5 | 34 | ー | ー |
| T1WI TRA | 1 | Cartesian | 0.91× 0.91 | 5 | 350 | 100 | RL (70%) 269 | AP 384 | 1.5 | 34 | ー | ー |
| DWI TRA | 6 | single shot | 1.56× 1.56 | 5 | 400 | 59.4 | RL (100%) 76 | AP 128 | 1.5 | 34 | ー | ー |
| 3D TRA T1 FS | 1 | Cartesian | 0.99× 0.99 | 1 | 350 | 99.4 | RL (100%) 350 | AP 352 | ー | 176 | 1 | default |
| 3D TRA T1 FS (dynamic CE) | 1 | Cartesian | 0.99× 0.99 | 1 | 350 | 99.4 | RL (100%) 350 | AP 352 | ー | 176 | 1 | default |
| 3D Lt-SAG T1 FS (CE) | 1 | Cartesian | 1.00× 1.00 | 1 | 256 | 100 | HF (100%) 256 | AP 256 | ー | 120 | 1 | default |
| 3D Rt-SAG T1 FS (CE) | 1 | Cartesian | 1.00× 1.00 | 1 | 256 | 100 | HF (100%) 256 | AP 256 | ー | 120 | 1 | default |
| MRI装置 | SIEMENS Avanto Fit (1.5T) |
| 自動注入器 | Nemoto sonic shot 7 |
| ワークステーション | ー |
表は横スクロールでご覧いただけます。
| 造影条件 | 注入量(mL) | 注入速度(mL/sec) | 撮像タイミング | |
| ガドビスト | 5.1 | 2.0 | dynamic 60sec 120sec 300sec | |
| 後押し用 生理食塩水 | 30.0 | 2.0 |
症例
症例背景と造影MRI検査の目的
50歳代、女性、51kg、浸潤性乳管癌
検診で左乳房に腫瘤が指摘され、精査目的にMRIを施行
症例解説
cT1cN0M0の診断となり乳房温存術、術後放射線療法が施行された。
病理では硬性型の浸潤性乳管癌と診断された。
当該疾患の診断における造影MRIの役割
病変の辺縁の性状、境界、内部の造影パターンの把握にダイナミック造影MRIが必須である。今回の症例は単発病変であったが、多発病変でBPE(background parenchymal enhancement)がある症例では病変部と非病変部の区別に注意が必要である。